U goBilda kanál (1104mm)
0
product unavailable
Popis
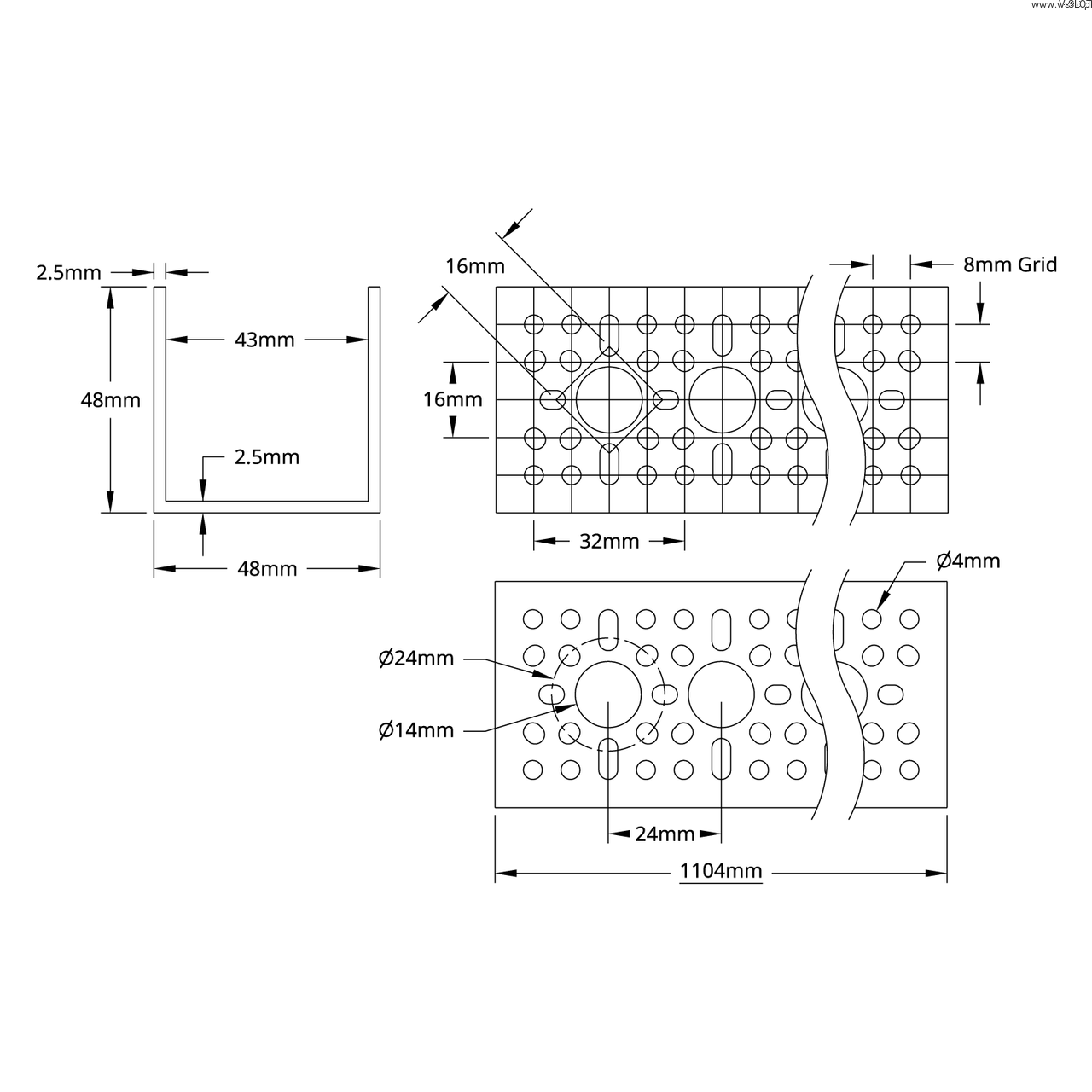
Kanál U goBilda (1104 mm)
Obchod V-SLOT Polska vám nabízí jedinečná řešení, jako např. U-kanál goBilda
Tyto kanály jsou součástí jedinečného systému goBuilda s nímž můžete postavit mnoho zajímavých konstrukcí pomocí několika málo nástrojů.
V našem internetovém obchodě a v prodejně ve Vratislavi najdete mnoho příslušenství kompatibilního se systémem goBuilda!
TECHNICKÉ ÚDAJE:
-
Název: Bílý dům - Bílý dům - Bílý dům: Název: U goBilda kanál
-
Řada: Bílý dům, který se nachází v budově gildiBilda: 1120
-
Materiál: hliník
-
Délka: 1104 mm
-
Rozměry: viz technické výkresy v galerii
Příklady použití :
Systémová řada GoBuilda umožňuje vytvořit mnoho jedinečných řešení.
Příklady řešení naleznete v galerii
Nosníky řady 1103 lze použít k vytvoření příruby na libovolné hraně kanálu řady U 1120.
